Termostaty TH220, TH221 jsou teplotně závislé jednopólové spínače, určené k regulaci teplot v plynném prostředí, např. v kanálech topného vzduchu teplovzdušného topení nebo v jiných uzavřených prostorách s velkou vlhkostí a prašností. Lze je použít i pro chladicí a klimatizační účely, ve spojení s elektrickými ventily pro regulaci při parním nebo vodním vytápění a dále jako teplotní čidla ve vytápěném prostoru. Základem termostatu je spolehlivý mechanický systém, který nemá žádnou vlastní spotřebu energie. Termostaty se vyznačují vysokou odolností proti mechanickému poškození a nízkými náklady na provoz a údržbu.
Popis
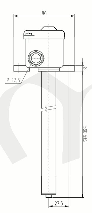
Termostat sestává ze spínací hlavice a teplotního čidla. Teplotně citlivý element je stonek, tvořený mosaznou trubkou, jejíž dilataci přenáší na spínací mechanismus invarová tyč. Spínací mechanismus tvoří mžikový jednopólový přepínač. Stupnice vypínacích teplot je označena přímo na regulačním knoflíku. Spínací ústrojí termostatu je uzavřeno v hlavici. Montáž termostatu se provádí dvěma šrouby za patky na hlavici termostatu. Při montáži je nutno zajistit, aby stonek nebyl mechanicky namáhán. Při použití termostatu na zařízeních s otřesy je nutno stonek na volném konci uchytit, ovšem tak, aby mohl dilatovat, a dále je nutno nastavenou teplotu zaaretovat dotažením aretačního šroubu. Pro spínání stejnosměrného proudu jsou kontakty přemostěny kondenzátory.
Přednosti
- vysoká citlivost
- odolnost proti vlhkému a prašnému prostředí
Technické údaje
|
Regulační rozsah |
-20 °C až +60 °C |
|
Diference spínací teploty |
1-3 K |
|
Přesnost nastavení |
±5 % z nejvyšší hodnoty jmenovité vypínací teploty |
|
Jmenovité napětí, proud |
60V, 1A ss; 120V, 0,5 A ss (TH-220) |
|
Délka stonku |
560 mm |
|
Hmotnost |
cca 0,8 kg |
|
Krytí |
IP 44 |
|
Odolnost vnějším vlivům |
hlavice odolná vlivům třídy AB7, AE3, AM1, AN1, BE1 |
|
Dovolená teplota hlavice |
120 °C |
|
Dovolená teplota stonku |
140 °C |
|
Životnost |
10 000 cyklů |
